客户咨询热线:18944828889
0523-84888996
超高温瞬时灭菌机
超高温瞬时灭菌机
超高温瞬时灭菌机
超高温瞬时灭菌机
|
|
|
名称 |
UHT-1型Type |
UHT-2型 Type |
|
|
|
|
|
生产能力 |
700-1000 |
1500-2000 |
|
|
|
|
|
杀菌时间 s |
≈4 |
≈4 |
|
|
|
|
|
杀菌温度℃ |
115-135 |
115-135 |
|
|
|
|
|
蒸汽压力 Mpa |
<0.78 |
<0.78 |
|
|
|
|
|
蒸汽耗量 kg/L |
0.15 |
0.15 |
|
|
|
|
|
物料出口温度 ℃ |
4-65 |
4-65 |
|
|
|
|
|
泵用功率 kw |
1.5 |
2.2 (4.4) |
|
|
|
|
|
保温时间 s |
≤45;≤65 |
≤45;≤65 |
|
|
本机适用于牛奶、豆奶、果汁等液态物料高温瞬间灭菌,它具有高效、节能、操作简单、灭菌效果好等特点。
一、产品型号、名称
UHT型超高温瞬时灭菌机
二、用途和适用范围
本设备适用于鲜乳、果汁、饮料、棒冰及冰淇淋浆料、酱油、豆浆、炼乳、酒类等液体食料的瞬时灭菌,也可以用于流体药料的灭菌,效果十分显著。
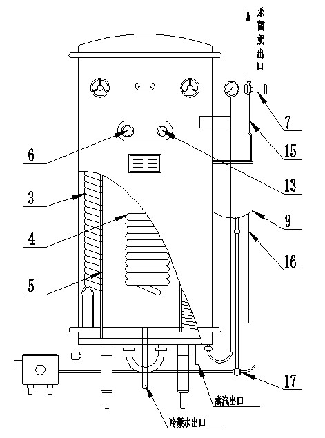
三、主要结构与工作原理
超高温瞬时灭菌机的结构见图1,在主机内装着压力容器--高温桶(5)、用作充盛压力蒸汽。桶外的主要设置时螺旋形双套管(3),用作对进、出物料的冷热交换;桶内的主要设置是螺旋形单管(4),用作间接受热。
图2绘出了物料的灭菌过程。物料通过供料泵(2)进入双套盘管(3)的外层流道、由内层流出的热料的间接加热而得到预热,当物料进入设置在高温桶(5)内的高温盘管(4)时,由于桶内的蒸汽间接加热而被加热到需要的灭菌温度,然后在桶外单旋管内保温而使物料的细菌被杀灭,当回到双套盘管(3)时,物料便进入内层流道,被外层冷料所冷却,从而使出料温度显著下降(一般低于65℃)。如工艺上需要提高或降低出料温度时,可启用角式截止阀(12),让它接通热源(蒸汽)或冷源(水、或冰水等),让它们进入双套管下端的外层流道。
节流阀(7)是可以调节的,一方面使物料维持在一定的压力之下,让其沸点温度提高,以防止淡化;另一方面,也作调节流量用。物料zui后经三通旋塞(8)出料。该旋塞下端接着旋管(15)、其出口对着贮槽(9),当需要时,可旋动旋管对转溢流管(16)。进料三通旋塞(1)的上端与贮槽(9)接通,下端则与料源管道相连接。
当需要提高处理能力时,可卸去”U”形管(17)改装一只离心泵,接法见图3.
本机属手控式灭菌机,灭菌温度由角式截止阀(11)(见图1、2)来调节、出料温度可通过角式截止阀(12)来改变。蒸汽的压力表(13)、灭菌温度表(6)以及出料温度表(14)均装在主机上。
友情链接LINK
关于青青草成人网
企业简介联系青青草成人网案例展示产品中心
榨汁设备青青草激情在线视频设备破碎设备椰子加工设备去籽、去核、去梗设备输送设备查看更多+新闻资讯
视频案例分享公司新闻行业资讯常见问题解决方案
苹果、梨加工青青草污网站APP橙子、柠檬、柑橘加工青青草污网站APP新会柑果球加工青青草污网站APP桃子、李子、杏子加工青青草污网站APP番茄酱加工青青草污网站APP芒果加工青青草污网站APP梅干菜、酸菜、咸菜加工青青草污网站APP菠萝加工青青草污网站APP百香果、西番莲加工青青草污网站APP蓝莓、树莓、草莓加工青青草污网站APP红枣、山楂加工青青草污网站APP葡萄加工青青草污网站APP沙棘果加工青青草污网站APP刺梨加工青青草污网站APP枇杷加工青青草污网站APP果蔬处理专题
榨汁设备专题青青草激情在线视频设备专题破碎设备专题去籽去核去梗设备输送设备专题清洗设备专题过滤设备专题果汁青青草污网站APP专题微信二维码
手机网站


江苏青青草成人网机械制造有限公司 版权所有 备案号:苏ICP备92742844号 技术支持:【新超云网络】【Sitemap】