客户咨询热线:18944828889
0523-84888996
胶体磨
胶体磨
胶体磨
胶体磨
胶体磨
|
|
|
型号 |
生产能力t/h |
配用功率kw |
外形尺寸mm |
|
|
|
|
|
JM-50 |
0.1-0.2 |
1.1 |
280×280×480 |
|
|
|
|
|
JM-80 |
0.1-0.5 |
3 |
340×340×610 |
|
|
|
|
|
JM-100 |
0.5-2 |
5.5 |
720×340×980 |
|
|
|
|
|
JM-120 |
0.7-3 |
7.5 |
720× 340×980 |
|
|
|
|
|
JM-140 |
1-4 |
11 |
840×430×1050 |
|
|
|
|
|
JM-180 |
2-7 |
18.5 |
840×430×1050 |
|
该机为湿式物料微细加工机械。根据不同用途,可选用不同材质和硬度的磨齿,装拆方便容易清洗。
立式胶体磨JM-L型 图一
1、底座 2、电机 3、端盖 4、循环管 5、手柄 6、调节盘 7、冷却水接头 8、加料门 9、旋叶刀 10、动磨盘 11、静磨盘 12、静磨盘座 13、O型圈 14、机械密封 15、壳体 16、组合密封 17、排漏管接头
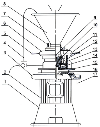
立式胶体磨JM-L50a-b型 图二
1、底座 2、电机 3、壳体 4、连轴器 5、机械密封 6、手柄 7、锁紧螺丝 8、加料门 9、进料管道 10、调节盘 11、静磨盘12、动磨盘 13、循环管
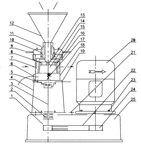
分体式胶体磨JM-F型 图三
1、从动带轮 2、轴承 3、主轴 4、机座 5、轴承 6、出料口 7、冷却水接头 8、进料盖板 9、手柄 10、轴承 11、限位螺母 12、加料门 13、旋叶刀 14、动磨盘 15、静磨盘 16、调节盘 17、机械密封 18、壳体 19、排泄孔 20、电机 21、调节螺钉 22、三角皮 23、电机座 24、主动带轮 25、底座
|
型号 |
直径D |
直径a |
注:JM-W卧式单机安装尺寸详见电机说明书 |
|
JM-L50 |
Ф225 |
Ф9 |
|
|
JM-L65 |
Ф240 |
Ф15 |
|
|
JM-L80 |
Ф300 |
Ф15 |
|
|
|
|
|
|
|
|
|
|
|
|
|
|
|
|
|
|
|
|
|
|
|
|
|
|
|
|
|
|
|
|
|
|
|
友情链接LINK
关于青青草成人网
企业简介联系青青草成人网案例展示产品中心
榨汁设备青青草激情在线视频设备破碎设备椰子加工设备去籽、去核、去梗设备输送设备查看更多+新闻资讯
视频案例分享公司新闻行业资讯常见问题解决方案
苹果、梨加工青青草污网站APP橙子、柠檬、柑橘加工青青草污网站APP新会柑果球加工青青草污网站APP桃子、李子、杏子加工青青草污网站APP番茄酱加工青青草污网站APP芒果加工青青草污网站APP梅干菜、酸菜、咸菜加工青青草污网站APP菠萝加工青青草污网站APP百香果、西番莲加工青青草污网站APP蓝莓、树莓、草莓加工青青草污网站APP红枣、山楂加工青青草污网站APP葡萄加工青青草污网站APP沙棘果加工青青草污网站APP刺梨加工青青草污网站APP枇杷加工青青草污网站APP果蔬处理专题
榨汁设备专题青青草激情在线视频设备专题破碎设备专题去籽去核去梗设备输送设备专题清洗设备专题过滤设备专题果汁青青草污网站APP专题微信二维码
手机网站


江苏青青草成人网机械制造有限公司 版权所有 备案号:苏ICP备92742844号 技术支持:【新超云网络】【Sitemap】