1. 青青草成人网,青青草激情视频,青青草污网站APP,青青草激情在线视频

      欢迎访问江苏青青草成人网机械制造有限公司官网网站!

      网站地图在线留言收藏本站中文站English

      客户咨询热线:18944828889
      0523-84888996

      均质机

      当前位置:首页 > 产品中心 > 细化设备 > 均质机

      均质机
      • 均质机

        均质机

      • 均质机

        均质机

      产品实拍
      产品详情


      型号
      流量(L/h)
      最大压力MPa 额定压力MPa
      配用功率kw 外形尺寸mm




      GJJ 500/25
      500
      25
      20
      5.5
      960×540×980




      GJJ 500/60
      500
      60
      50
      11
      1315×1100×1300




      GJJ 1000/25
      1000
      25
      20
      7.5
      1030×650×1120




      GJJ 1000/40
      1000
      40
      35
      15 1315×1100×1300




      GJJ 2000/25
      2000
      25
      20
      15
      1315×1100×1300




      GJJ 2000/40
      2000
      40

      35

      30
      1315×1480×1400




      GJJ 5000/25
      5000 25
      20
      45
      1630×1480×1600




      GLJ-550
      5000
      40
      35
      55
      2000×1480×1600




      该机工作时通过三柱塞往复泵将被加工物料以高压形式送至均质阀,使物料流经阀盘与阀座间微小间隙的瞬间受到溢流、空化、剪切等符合力的作用,达到均质、乳化的目的。广泛用于食品、乳品、饮料等行业。



      图1  整机示意图A


      1.底脚    2.出水口   3.拉派    4.进料口    5.电流表    6.电压表  7.铭牌   8.泵体螺母   9.泵体    10.传压缸    11.压力表   12.高压手枪    13.低压手枪      14.压盖    15.溢流阀手枪    16.上盖    17.标牌    18. 溢流阀体    19.电源开关     20.电器箱门锁      21.外罩

      图1  整机示意图B


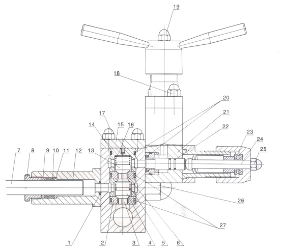
      图2  均质机头部装配图A

      1.进料口联接板   2.进料口接头   3.双头螺栓   4.螺塞    5.压力表座    6.放气螺钉    7.传压活塞      8.传压缸    9.微通螺钉   10.微通阀     11.压力表       12.0型圈    13.螺栓、螺母  14.阻尼0型圈   15.0型圈    16.0型圈    17.调压螺母     18.加压杆    19.轴承支座   20.调压座    21.压板   22.蝶形弹簧片   23.均质杆  24.二级均质阀体    25.碰撞环    26.均质阀    27.均质阀座    28.密封垫圈
      29.出料口接头  30.压板   31.手柄  32.泵体     33.螺塞    34.密封垫圈

      图2  均质头部装配图B


      1.O型圈、密封垫圈    2.下阀座    3.导向杆      4.下阀门    5.下阀门弹簧    6.下花兰   7.柱塞   8.紧定螺钉   9.压环    10. 柱塞密封圈 (V型或方型 、隔离片)  11.定位套、垫环    12. 柱塞密封套    13.上阀门    14.上兰花      15.压板    16.上阀门弹簧      17.螺栓、螺母        18. 螺栓、螺母      19.加压杆螺母     20.O型圈、密封圈    21.一ji均质阀体    22.均质杆、O型圈        23.平面轴承        24.加压杆    25.加压杆螺母       26.泵体螺母    27.上、下阀门密封圈

      图2  泵体示意图 C

      1.压力表组件  2.表座密封垫  3.表座压盖  4.压盖  5.圆锥柱 6.压盖密封垫  7.紧锁螺帽  8.调节螺帽  9.带孔紧锁螺帽    10.锥阀芯   11.上锥阀座   12.限位套   13. 下锥阀座     14.调整垫片  15.螺塞   16.O型橡胶密封圈    17.泵体      18.柱塞密封套  19.泵体平面密封圈  20.紧定螺钉  21.压环    22.柱塞密封圈 (V型或方型) 23.隔离片  24.座环  25.柱塞 


      1.工作原理与用途
      GJJ系列高压均质机是一种超细粉碎,乳化匀浆设备,它利用高压条件下的混悬液,通过一个可调节的限流缝隙过程中失压、膨胀、爆炸、剪切和高速撞击等综合效应,将在液体中的颗粒和油滴粉碎成很小尺寸,直径Ø0.1-2um,平均Ø≤1um,同时建立理想的乳化液或分散液。这个过程集超声波粉碎机、胶体磨、球磨机、射流机等功能原理于一体(图3)。产品的稳定性、一致性、混合性、易吸收性、营养值、保质期、口味、色彩和保活性都可在均质机得以实现。

      图3  工作原理图
      主要用途:
      (1)生物细胞破碎提取内含物或制成新产品;
      (2)互不相溶的二相物料(液-液或液-固)超细粉碎制成稳定的乳化液或分散液;
      (3)其他多种物料的细化。
      总之它被广泛应用于食品,生物工程、化工、制药等等领域。

      3.  均质机的主要结构和零部件
          本机主要由底座和电动机、变速箱、高压泵及均质部分组成。
      3.1   底座和电动机
                底座是整机的的基础,起支撑作用,由槽钢制成,它的上面装有Y型三相异步电动机,电动机在导轨上有适应位移,用以调整三角胶带的传动张紧力。装有QC型磁力起动器,对于大功率电动机,另配有电器控制箱,使之启动时起保护电网作用。
      3.2   变速箱
                变速箱由二级变速,首级采用三角胶带传动,以防机器特殊情况下(过载)引起机器不必要的损坏,次级采用一只或两只斜齿轮传动,与曲轴联成一体的斜齿轮带动三拐或四拐曲轴传动。曲轴通过连杆、滑块等,使三根或四根柱塞在高压泵中作往复直线运动,高压泵中的高压能量是由柱塞的往复运动而获得的。
                 变速部分各轴均采用标准滚动轴承和特种合金材料作滑动轴承,变速箱润滑采用大齿轮飞溅,通过导油孔连续润滑各档轴承,柱塞高压密封部件—由于柱塞的往复运动在高压泵中产生很大的压强,因此,柱塞往复运动处的高压密封是获得很大压强的先决条件,它由柱塞密封套、紧定螺钉、柱塞定位套、垫环、密封圈、压环等组成(图5)。本系列柱塞密封圈有V型和方型两种。
      3.3     压泵及均质阀(图2-A.B)
              压泵是机器的心脏,是粉碎和乳化的关键部件,均由特殊耐腐蚀gao级合金材料制成,主要由以下部件组成。
      3.3.1   主泵体(图2-A)   
                  它由三个或四个柱塞并联组成,它包括泵体、上下阀、高低压阀、压盖、上、下花兰、柱塞等组成。当柱塞向后运动时,进料下阀门开启,将工作液料吸入,当柱塞向前运动时,下阀门关闭,上阀门被顶开,工作液被压入高压均质阀区域。
      3.3.2   上下阀门与高低压阀门(图2-A.B)
              上下阀门由阀芯和阀门座组成,三柱塞均质机有6套,上下各三套,均由特种高硬度,耐高温,耐腐蚀材料制成,阀门结构设计简单,具有独特的形式,配合jing密,拆装方便,具有优良的使用性能和很高的使用寿命。因长期工作阀芯和座配合面座损时,出现流量减少或呈脉冲状,压力表或电流表指针摆动大时,就应该拆下修磨或换新的。 
                   均质阀部分有二级
                  di一ji(高压)它是超细微粒粉碎和乳化的关键部分,当高能压缩的工作液进入高压阀座的小孔中,小孔由高压阀芯(均质杆)借弹簧,通过顶杆把它紧紧地封住,而强弹簧的压力由手轮任意调节,当高压泵内柱塞压缩工作液压强大于强弹簧,阀芯被冲开,工作液由阀口作放射性喷出,以ji高的能量与速度碰撞在碰撞环上,以便产生如(图3)中所述各种复合的超微粉碎与乳化作用。经过一次作用的工作液,通过阀体中斜孔进入di二级(低压)均质阀区域,高压密封垫,gao压轴封套是保证泵体和阀体与手轮之间承受高压的密封而设计的。
      di二级(低压)均质阀部分
      它是由低压阀座、低压阀芯、低压密封垫、低压轴封套,低压手轮等组成,工作原理与di一ji(高压)均质阀部分相同,主要起乳化作用。
      均质阀座和芯阀长期工作它们配合面要磨损的,当出现压力上不去或者粉碎效果不好时,须拆下修磨或更换。
      yi级与二级均质阀各有其特点,不同的使用要求,应选择不同的均质阀压差,按(图3)中所述的基本原理,同一物料一ji和二级压力差越大,物料的粉碎效果越好,对于大多数产品,di二ji阀P2建立一个低压5-10MPa(50-100Bar),可集中首级均质区能量,提高粉碎混匀效果,同时减少某些物料凝聚现象。
      在生产实践中,di一、二级压力可选择恰当,在技术指标允许范围内,di二级压力选低些,仍至选择压力为零,di一级压力选高些,粉碎颗粒z细,若工艺配方恰当,选用机型合适,必定达到工作原理中所确定的均质效果。
      机上如装有溢流阀,它的功能是如果出现闷车或压力突然升高,它会自动开启,保护机器免使它意外损坏,它的压力点是出厂时就定好的,用户不要任意调整,经验丰富的用户,如使用工作压力的改变,也可自行调整,但须调整到大于Pm值,如果低于Pm值溢流阀也是损坏很快的,反儿使额定流量降低。
      3.3.3    压力显示部分(图2-A)
               本机采用耐震压力表,并且通过表座阻尼装置,安装在压盖上,使压力表在三柱塞往复工作时,避免压力表指针摆动过大(通常在三格范围内摆动);下端装置隔离零件,防止压力表填油渗漏,污染食品,适合CIP无菌工作。压力表和阻尼装置之间是不能板动的,否则阻尼装置内填油要渗漏或进入空气,造成压力表失灵。
      4.       机器的安装和试车
               本机在使用时,要熟悉机器的工作原理,技术性能和各零部件作用和相互关系。
      4.1      安    装
               本机不需要底脚螺钉固定,可直接安放在固定的地平上,但地平基础须坚固、平整。底部撑脚下面附有几快垫片下面,再垫橡胶防震垫,则能进一步降低噪音,提高稳定性。泵体进、出料口采用聚乙烯软管(SG79-75)与其它系统联接,便与观察进、出料情况;也可用不锈钢管联接,本机出料口管道上不准安装阀门,防止产生闷车与管子爆裂。由用户确定,冷却水输入采用聚乙烯软管(SG79-75)与进水管联接,伴有开关,控制冷却水流量。电源联接后,皮带轮的旋转方向(站立操作手轮-侧看)须顺时针,有的规格是逆时针的,或按外客上标牌箭头方向旋转,以保障转动个部件充分润滑,切勿搞错。试车前,可以点动一下,如果大皮带盘不附合外壳上标牌箭头所指方向旋转,只要将三相电源线中两条对调接妥即可。
      4.2      加   油
               本机出厂时转动箱没有家润滑油。试车前须选用优工业润滑油,如牌号为美孚齿轮油(Mobilgear600),或中国产N68(GB443-84)机械油,在高温场所应选用HJ50机械油。加至油面线或油标中间(即一半)为止,否则不能开机。
      4.3      试    车
               本机安装和接线完毕,或者机器维修保养之后,须试车,试车时重点注意:(1)电源线接对了没有?(2)机器运行正常否?步骤如下(见图1.图2)
      4.3.1     按逆时针方向稍微松开高压手轮(图1-12)和低压手轮(图1-13),同时顺时针松开两手轮上盖形螺帽(图2-19-25)
      4.3.2     开启冷却水,由进水接水进水,细水长流,以箱体底部不积水为准,防止柱塞运动时与纲套内的密封圈,产生干摩擦引起密封圈严重磨损。
      4.3.3      开启进料管接头,试车时可以水代料。
      4.3.4      试车前可先用手转动皮带轮数圈,柱塞往复正常,无碰撞现象。
      4.3.5      启动:按下启动按钮(绿色),在无压力条件下运转五分钟,让各部件都进入润滑状态,同时使泵体充分进料,将泵体(图1-9)内空气排尽,出料管接头(图2-29)出料正常,无脉冲为准。本厂生产的25Mpa、1500L/H以下型号的应旋轻放气螺钉,排除进料管及泵体内的空气。当排气管内正常流出料液后,旋紧放气螺钉。
      4.3.6     加压:须对照机器铭牌上所标的型号规格,查对技术指标中允许压力Pm.P1.P2试压。方法:按顺时针方向徐徐旋紧低压手轮(图1-12),直到压力表指示值:P2从0-5-10、或20Mpa(50-100或200Bar),在小心地缓慢地顺时针方向高压手轮(图1-13)直到压力表的指示值P1,达到铭牌上所标出的z大工作压力值Pm为止,试车十分钟。机器运转正常标志:
      (a)压力稳定—压力表指针可岁手轮转动而偏转,且稳定在三格范围摆动。
      (b)流量充足—每分钟出料达到铭牌上所标出的额定流量,可通过定时取样,称重,换算得出铭牌所示流量值。
      (c)机器无异常声音,则可正式启用。
      4.3.7    经常注意各轴承,油箱的温升,运转时的响声,压力变化情况。
      4.3.8    停    机
                      每当工作完毕,逆时针方向,先松开高压手枪(图1-13),再松开低压手枪(图1-12),压力表指针复零,然后通水清洗或关机,切勿搞错。
      5        均质机的使用
      5.1          使用本机,进入泵体的物料颗粒度Ø<20um为宜,料液在前道料加工之后可用60-80目滤网,经过滤后进入泵体,防止大颗粒的物料进入引起压力表指针大幅度摆动。
      5.2      料液通常以高位自流(泵体进料口与料桶液面相对高度大于1m)进入泵体,但对于料液过于稠、粘度大、流动性差或料桶位置过低时,可用低压离心泵压力输入(如图4所示),主要是防止泵体内形成局部真空,吸入空气,使泵体压力不稳定,产生噪声和振动。

      图4  泵体和料桶连接示意图

      1.料桶    2.滤网  3.管路  4.低压离心泵  5.换向阀   6.泵体


       5.3     本机压力为无级调压型
                   持续工作压力P应按不同物料所需要工艺要求而确定,以达到z佳粉碎、乳化效果时,取低值为宜,持续生产时,通常di二级低压P2取0.5-10Pa(100Bar),第一级高压取P1<0.8Pm,这样保障机器轻负荷工作,节能又提高机件的使用寿命,避免易损件和密封件频繁更换和修磨,降低生产成本。
                   均质机粉碎效果,取决于:
                   A.进料颗粒硬度和粗细;B.均质机允许z大工作压力是关键,高低压差:P1-P2越大(当P2=0),粉碎颗粒z细。例如:咖啡、可可、大豆、花生、椰子、杏仁、核桃、莲子等有一定硬度的物料,宜选用Pm=70MPa(700Bar)均质机,对于纯水果和乳品,可选用:Pm=400MPa(400Bar)和Pm=25MPa(250Bar)。
                  生产中应由专业工艺师在反复试样(包括增减稳定剂比例)基础上,确定zui佳工作压力。本厂生产的实验型均质机GJJ60-70MPazui少处理量为500ml,可供试样用。
                   有些物料需经2次以上均质方可达到令人满意的效果Ø0.1-2um。 
                   如不去渣全利用豆奶、花生奶等,需要连续均质三次。精细化工,日用化工、制药、生物工程也往往需要多次均质。
      5.4    进料温度控制在85度以下,否则会引起物料在泵体内造成
             压力表指针摆动大,出料不足,严重时发生气爆现象。造
             成压盖变形,螺栓拉断,压力表损坏等现象,当进料无法
             低于85度时,只要对泵体表面加注冷却水降温即可,这是因为高压均质时能量转化会使料液每次温升3-15℃, 本系列均质机压力当达到Pm=70MPa(700Bar)时,每次均质液料温升高达15度左右,用户须注意。
      5.5      生产操作顺序按4.3.1-2-3-5-6-7顺序进行,在关机停产前应用清洁液或水通入泵体无压运转10分钟左右,达到泵体内洁净后再关机。
               以下为乳制品的一般清洁方法,供参考。
               a.热水(80~90℃)清洗。
               b.1.5%硝酸水溶液清洗(用以清除蛋白质胶凝体)。
               c. 1.5%烧碱水溶液清洗(用以中和酸洗液及去除残存的油脂质)。
      d. 热水(80~90℃)清洗(每次使用前应用热水再清洗消毒)。
           本机若用于食品、制药、护肤霜等生产,须遵守所有卫生法规,生产前后实施明智的清洗和消毒程序。
      5.6      使用本机必须注意:
               (1)泵体内没有料液或水通过(即空车),严禁开机运转;
               (2)柱塞冷却水阀未开启,严禁开机运转;
               (3)润滑油不到位或变质,严禁开机运转,如油位偏低会造成曲轴失油而损坏。
               (4)本机禁止带压启动,故在每次停机后须将均质器手柄旋松。
      (5)本机内部润滑油是曲轴或齿轮带油分配解决的,故禁止反向运转。
      (6)在操作和维护本机时应先熟悉本机使用说明书,禁止违章操作。
      (7)对新机开箱使用前,须先检查各部位螺丝螺帽不能有松动,使用几班后须检查一次。
              (8)本机采用的耐震压力表和特殊的压力表座,当机器运行正常而压力表不工作时,应先检查表座内是否有油,如已干,请加满食用油或甘油。
              (9)在使用过程中,如发现压力表指针停止反映(即用手柄加压时,表针无反映),须随即停止检查(见图2)
               A、拆下压力表,将微通阀内M6微通螺钉取出,或用M8螺丝将微通阀取出,用园棒(4mm)或筷子将传压缸内传压活塞推到下端底部,往缸体内加满食用油,然后将微通阀或M6微通螺钉旋进阀座(不能旋紧)再略加一些食用油,将压力表装好。(注意Ø14×2.4O型密封圈不要漏装).
              B、更换新压力表时,用一针筒或其他工具,向压力表下端小孔内加注满食用油,其余操作程序同A,或更换新压力表后,开机加压再停机,重复方法A-至二次,直到压力表内充满油液为止。
               C、如发现压力表旋紧后,指针不回零,则可将压力表旋松后再旋紧即可。
                   本机电器控制箱装有过载保护器,若压力超过名 牌注明的zui大间隙工作压力Pm时,即自动停机,根据当地电源状况,有经验的电工师傅在试机时,应对过载保护器作相应调整校对。
                   均质机使用,应装有电流表,因为压力与电流是相对应的,当压力确定之后,对应的电流值也确定了,在生产实践中,由于使用不慎,压力表组件容易损坏,电流表只要不浸到水比较耐用。因而操作人员在新机使用时,就应该记下生产压力所对应的电流值,以便利用两种表同时监视;当压力表失灵或损坏,就可拆去压力表组件,压盖孔用M20×1.5螺栓封死,用电流表监视,也可同样安全可靠,备用压力表组件可以用作定期校对电流表,如一个月校对一次。传动箱内为自润滑形式,加入机油须经150目以上的过滤网过滤,以保证机油的清洁度,新机在开始运行100小时后应换油一次,换下的油沉淀过滤后重复使用。
      6.       保   养
      6.1      润滑油满750操作小时或颜色变成乳白色应更换,更换方法如下:拧开装在变速箱排油孔螺帽,用塑管将废油引(置于油桶内,待沉淀后,上面清洁油尚可复用),拧紧排     油孔螺帽,建议将机开动5分钟在0压下用柴油在齿轮箱内冲洗,直到所有驱动部件彻底清洁后,排去柴油、注入新的润滑油。
      6.2      机器运转一段时间,若有异常声音,应注意将传动部分紧固件拧紧,传动皮带收紧一些(方法见7.6)
      6.3      泵体内各密封件,阀件均属易损件;机器使用一段时间后,由于易损件产生泄漏引起压力表指针摆动大,流量不足或成脉冲状,压力上不去,粉碎效果不好等现象,这属正常保养范围。维修人员只要及时检查更换或修磨即可(方法见7.2-5)
      6.4      电机内轴承是涂好黄油装配的,出厂时由电机制造商涂上的,可按电机一般保养方法实施保养。
      7.       故障和维修
      7.1      不能起动:问题出在电源部分,应检查进线电路,包括:接点、开关、熔断器及继电器等,逐断检查排除即可。
      7.2      外泄漏
      7.2.1    柱塞部分泄漏:本机采用自紧密封装置(如图5),所以使用时只要柱塞不泄漏,不要将紧定螺钉(图5-2)防止对柱塞(5-1)抱得过紧造成拉毛。如发现泄漏,可停机后适当将紧定螺钉调紧,不泄漏后继续使用,直到不起密封作用,应加垫1-3只新的或更换新的密封圈(图5-4)。料液中经常混有坚硬的杂质,如沙粒,造成柱塞表面划有条沟而泄漏,须更换柱塞。

      图5     柱塞密封示意图
      1.柱塞   2. 紧定螺钉  3.压环  4.柱塞密封圈 (V型或方型、隔离片)5.定位套、垫环   6. 柱塞密封套   7.密封圈
      特别指出,方型密封圈遇水要膨胀,安装紧定螺钉(图5-2)只要随手带紧,切忌用手板手拧紧。开始使用时,  允许少有泄漏,不要忙于拧紧,在30分钟后再有泄漏,将紧定螺钉拧紧60度,在30分钟内泄漏没有变,再拧紧60度,如发现泄漏减少,则不再拧紧紧固螺钉,它自然就停止泄漏了.
      7.2.2    泵体与传动箱体间的泄漏
                   可用板手只要旋紧泵体螺母(图2-26)即可。
      7.2.3    泵体与阀体的泄漏:
                   卸掉高、低压压力后,将高压手轮座(图2-21)上的二只六角螺母旋紧(必要时可加接长管旋紧)不泄漏为止,若仍然泄漏,则应更换高压密封垫(图2-20)。操作时注意阀体与泵体之间缝隙的平行度要一致。
      7.2.4    泵体与压盖的泄漏:
              (1)GJJ系列机采用轴向端面密封(主要是中低压均质机),卸掉高、低压压力后,将压盖14上的四只六角螺母旋紧(必要时可加接长管旋紧)不泄漏为止(图1)。若仍然泄漏,则应更换压盖密封垫,并保持缝隙平行度(同上)。
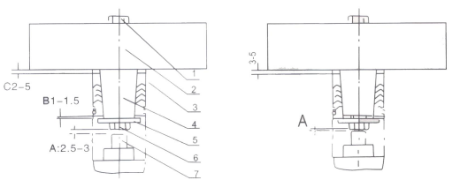
              (2)GJJ系列机采用径向自紧密封—即采用锥孔V形封组件,(图6)。
                    它具有自紧静密封的作用,密封可靠,如组件多次拆装后发生泄漏,请注意组件的座环与压盖之间是否有间隙C,如果没有,可将座环平面去除2-5mm仍可继续使用,如果还是封不住,则要更换,更换须配套成组.
                    压盖V形密封组件装配:
                    检查圆柱面须光滑无划痕毛刺.按(图6)V型密封组件下端面应高于圆锥柱下端面B1-1.5mm左右.
                    锁紧螺母(图6-5)起锁紧限位柱(图6-6)的作用,所以须用板手拧紧紧贴在圆锥柱下端面,而切不可与密封组件下端面贴平,因为密封组件受力后要上升锁紧螺母就 不起作用即松动.限位柱起限制上椎阀芯上升的开启高度,一般控制在A:2.5-3mm左右,如果锁紧螺母松动,限位柱和上椎阀芯的开间度不适宜,严重时上椎阀芯不能开启或折断.
                   压盖与密封组件装入泵体,因为压盖密封组件受力后沿锥形圆柱往往上移动,组件的外径放大,内径紧紧抱住圆锥柱面,起到了径向密封的作用.所以装配时一定要注意,压盖与密封组件座环应有间隙C:5mm.压盖与密封组件装入泵体应先在C:5mm空隙处装上4.5mm厚的工艺垫片,然后轻轻压入泵体孔内,等压盖还未碰到泵体(1-2mm时),松开压盖上面的M12螺钉,将工艺垫片取出,再压紧压盖.表座压盖基本相同,但是先应把V形密封组件通过手工或台钳压成如(图6)间隙装进去.防止密封组件时在装入孔时由于配合的原因,沿着锥形圆柱上移,外径放大,孔的配合更紧,zui后,虽然装进,但5mm空隙已经不存在,所以影响压盖的密封性能和寿命.压盖螺母不需拧紧,密封效果也非常好.
      附注:压盖采用有锥孔V型密封形式,有点是密封可靠、寿命长
      注意拆卸方法有二种:
              (1)松开压盖螺母约移一半,然后进水启动均质机,加压5Mpa(50bar)压盖全套立即顶上来,然后拧去压盖螺母,即可拆下.
               (2)拧去压盖螺母,拧松压盖两螺母中间M12螺检5mm,用撬棒或大起子撬下压盖即可拆下,对于压力表座的压盖,在拆去压盖螺帽后,直接用撬棒或大起子即可拆下. 

      (a)正确                       (b)不正确
      图6    泵体压盖A
      1.螺栓   2.压盖   .3.椎孔V型密封组件(上端是座环,下端是压环)  4.圆锥柱   5.锁紧螺母  6.限位柱  7.上椎阀芯


      a.更换V型方型密封组件,方法如下:
             拆卸泵体大螺母(图1-26)后,卸下泵体(图1-9),即可将密封组件的柱塞密封套(图5-6)从机体中取出,再分别抽出柱塞(图5-1)和旋出紧定螺钉(图5-2),然后将压环V型(或方型)密封组件推出(图5-3-4)更换时逆向顺序装配即可.务必注意装配时,压环(图5-3)须超过密封内套的刃割槽低一些才能保证密封组件zui高的使用寿命.
      b.更换方型密封组件,方法如下:
             方型密封组件是由高压成型密封圈和隔离环组成,每两个密封圈后加一个隔离环,也有一个密封圈后加一个隔离环.
             先将柱塞密封套内清洗干净,将方型定位套垫环装入套内,再将方型密封组件逐个压入套内,各环端面不应留由 间隙,zui后一只密封圈须低于柱塞密封套内刃割槽,再装上压环,压环须超过刃割槽,然后装上紧定螺钉,zui后将柱塞外表涂上食用油,缓慢旋动插入方型密封组件内,柱塞密封更换结束,可装上整机.

      图6  泵体阀门结构示意图B
      7.3     内泄漏
      7.3.1   有压力,流量不足:
                   可能是进料口滤网网孔或管路堵塞,引起吸料不足,严重时可造成无流量和无压力,压力表指针摆动很大或不显示,排除办法:清除网孔或管道堵塞(通常不安装滤网,由用户自行配置外过滤更佳.
      7.3.2   流量足,压力上不去:
                  如高压上不去是高压阀芯和阀座严重损磨;低压上不去可能是低压阀芯和阀座严重磨损,解决办法:针对性拆下修磨或更换.方法如图7所示,高压和低压阀座可用夹具挡住在平面磨床上修磨;高压阀芯如图8用三爪卡盘夹持后修磨二端面.卡盘一定要保证垂直精度的要求.如一头磨损也可换一头使用.低压阀芯可在阀座已修磨的基础上用磨料(200#绿碳化硅)相对研磨.另外,因放松高压时手轮反转过多,造成手轮上顶杆轴封套孔径变形,垫在高压阀芯上,引起压力上不去.解决办法只要将变形部分用刀割调即可.有经验机修师傅使用中将高压阀座反复修磨,直到凸出部分磨平才报废,高压阀芯也反复修磨,直到磨短1cm以上,当杆顶顶不到阀芯时,在杆顶前端加垫相应一段圆柱体,照样使用.当碰撞环内出现环沟达1mm深,影响粉碎效果,只要将高压阀座磨低一些或将碰撞环拆卸后调向安装.

      图7   高低压阀座的修磨           图8高压阀芯的修磨
      1.砂轮   2.夹具  3.磁性吸盘      1.砂轮 2.高压阀芯 3. 夹. 4.高压(低压)阀座                 具(三爪卡盘) 4.磁性吸盘
                      
      7.3.3    流量不足
                   出料呈脉冲状,压力表指针摆动幅度大(4-5格)原因:(1)是由于六个阀门某一个关闭不严,阀面磨损,需要重新研磨阀面或更换新的阀门,其拆卸方法(如图10),用敲棒(图10-6)(附件4)将阀座从泵体中敲出,通常用磨料(200#绿碳化硅)涂在阀芯和阀座接触面间相对研磨.阀门反复修磨时,注意芯蕊的 三角端面也要相应用砂轮麻短一些,在装入阀座,决不可伸出来. 不可伸出来,否则装入泵体后,造成椎阀组件接角面封闭不严而泄漏.(2)同样道理,椎阀安装时也要用较大的力量将阀座敲紧,否则也会造成内泄漏,吹坏泵体内孔.这时,需对泵体孔进行镶套大修.(3)由于新机器或停机时间很长,三个下椎阀座和芯粘住的缘故,可拧下泵体下面三个螺塞(图10-7)用起子分别向上捅一下即可.

      图9   阀门花兰拆卸示意图
      阀门、花兰拆卸方法:
      1.先拆去压板(图2-15)再用花兰拆卸器或螺丝将上花兰取
        出(图2-14).
      2.用手或手钳将上阀门弹簧(图2-16)连同上阀门(图2-13)取
        出,再用阀座拆卸器(专用工具)将上阀门座取出.
      3.用阀座拆卸器将下花兰取出(图2-6).
      4.用手钳将下阀门弹簧(图2-5)连同下阀门取出.
      5.阀门更换或清洗后,按此顺序由下向上装配完成,如拆出来清洗的阀门、阀座要拼对放好不能掉错.

      流量稍有脉动,是泵体柱塞密封或泵体与箱体间的密封外泄漏.解决办法:可参照7.2方法排除.也可能是泵体内的六个椎阀某个或几个阀座与泵体内孔的配合面泄漏,拆卸方法如图10可将下椎阀座下面的调整垫片磨薄一点,上椎阀座下面的限位套磨低一点,以保证如图11.12底面0.5mm间隙再用敲棒(图11、12-8)敲紧.
      图10  椎阀拆卸示意图            图10-12椎阀安装示意图
      1.泵体     2.椎阀芯   3.上椎阀座   4.限位套   5.下椎阀座    6.敲棒      7.螺塞     8.敲棒(附件3)
             拆装阀座或修磨,更换都须注意<1>保持原芯阀的开启高度上阀芯约2.5-3mm左右,下阀芯3mm;<2>阀芯与阀座的编号切勿装指.
      7.4     压力显示不正常,除上述原因外,主要是使用不当引起
              压力表和电流表指针摆动很大,压力表指针超过三格范围.
            原因:<1>机器安装时,地面不平整,机器运转时摇动(电流表指示正常);<2>进料温度高,超过85℃;<3>进料管路不通畅,进料不足,夹有气体;<4>进料颗粒较粗,且粗细不均匀;<5>物料过稠,过粗,停机时没有冲洗干净,时间长了造成干结,堵塞了压力表座内通道,如豆奶、淀粉、塑料等生产;<6>手轮座内高压弹簧被人为压紧;<7>不慎板动过压力表,造成阻尼装置上端渗漏,进入空气或者内部阻尼不够;<8>超压运转,压力表已冲坏. 
           <5>与<6>往往在上压时指针开始不转动,一动就突然上升,甚至满刻度,打坏表针.
      解决办法:1.读通均质机使用部分,按章操作;2.对于故障<6>
      注意将手轮上的盖形螺帽在开面前顺时针先松开,让高压弹簧呈自然状态;3.对于<5>改用电流表监视,拆下压力表,用M20×1.5螺栓将压盖螺孔封闭,压力表作为定期(通常为一个月)校对之用;4.对于<7>和<8>可以拆卸压力表加注有机硅油或改换压力表组件.
      7.5     传动箱内机油容易乳化或机油被连杆带到水槽内,对于前者主要是冷却水流量太大,只要开小些以水槽不积水为宜;若机油被连杆带出来时,应检查连杆橡胶骨架密封圈及其弹簧可能损坏,只要更换即可.
      7.6     当上压力时,发现柱塞线速度下降或者传动皮带打滑,主要是传动皮带太松,应拆下罩壳后侧板,将电机底座上的收紧螺栓紧一紧即可.


      表3   一般故障的排除方法


      序号

      故障内容

      一般产生原因

      排除方法

      1

      流量不足压力打不高

      阀门损漏、密封件损坏、均质阀损漏

      检查、修复、更换

      2

      压力表指针跳动过大

      阀门损漏、密封件损

      坏、压力表组件不良

      同上

      3

      阀门工作声音不均匀压力波动大

      部分阀门损漏

      同上

      4

      柱塞处漏料液

      柱塞密封圈磨损

      换新

      5

      泵体内有冲击声

      柱塞磨损、泵体内有气体、泵内有杂物

      用放气螺钉排除,拆开查检、排除

      6

      传动箱内有敲击声

      连杆轴瓦或轴衬磨损,连杆螺栓松动,上阀门损漏

      更换、拧紧、检修

      7

      曲轴轴承发热

      轴承损坏、轴承内有杂物、轴承装配不良

      更换、检查、清洗、重新装配

      8

      滑块发热

      滑块与箱体工作面上有杂物、润滑孔堵塞

      拆开、检查、清洗

      9

      电动机发热

      电器损坏、室温过高

      检查、修换、采取措施、降低室温

       




      我要定制

      定制产品类型:均质机

      • 联系人
      • 联系电话
      • 电子邮件
      • 验证码 点击刷新验证码
      产品推荐
      • 带式青青草激情视频-大型全自动立式青青草激情视频

        带式青青草激情视频-大型全自动立式青青草激情视频

      • 螺旋青青草激情视频

        螺旋青青草激情视频

      • 破碎青青草激情视频组

        破碎青青草激情视频组

      • 双道青青草激情在线视频机

        双道青青草激情在线视频机

      • 单道青青草激情在线视频机

        单道青青草激情在线视频机

      上一页:胶体磨
      下一页:冷去核机
      网站地图